La detección temprana de estas descargas es esencial para realizar un mantenimiento preventivo y evitar fallas inesperadas que podrían resultar en costosos tiempos de inactividad y en riesgos para la seguridad del personal
.
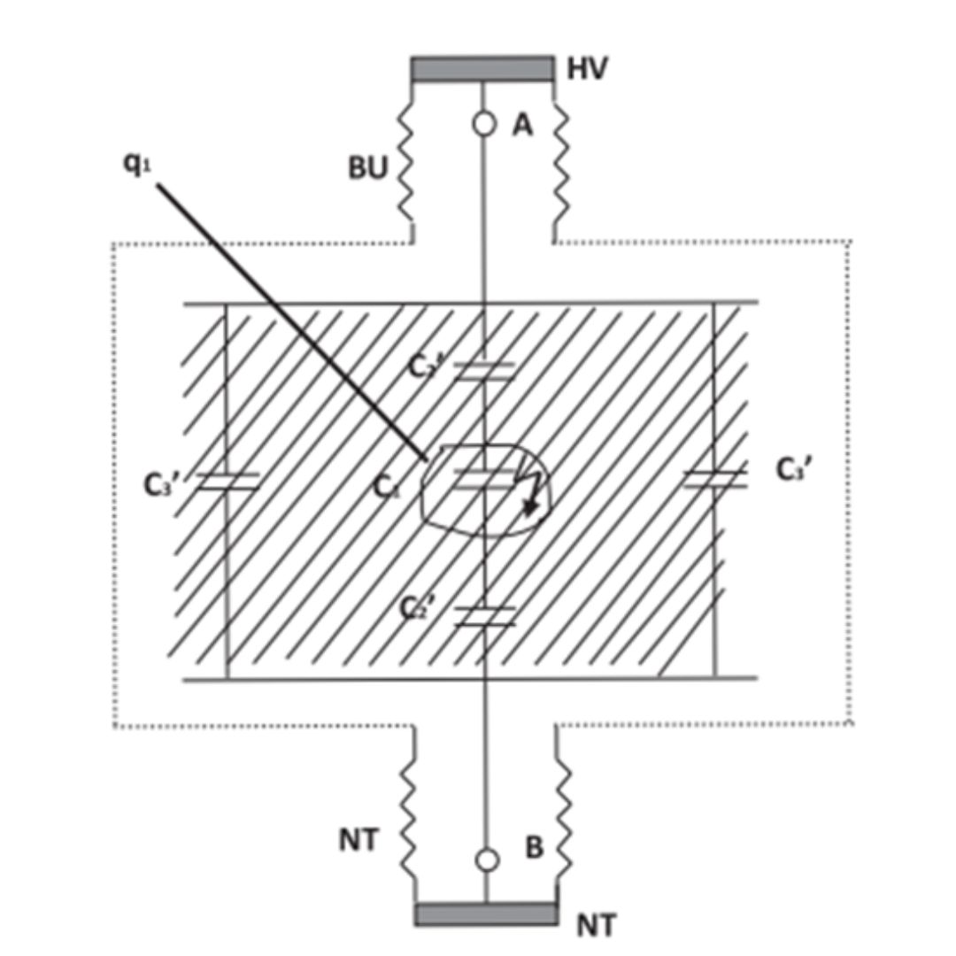
BU: aislador, HV: alta tensión, NT: terminal neutro, C1,2,3: parte activa del transformador (incluido el aceite dieléctrico), C1: región debilitada, C2 : capacitancia del objeto de prueba (C2’ y C1’)
Figura 1. Aislamiento básico de un transformador de potencia.
Hoy en día la detección oportuna de estos fenómenos es vital para el mantenimiento predictivo, La tecnología de Flir con la nueva Si2 detectara la fuente de sonido de la presencia de una descarga parcial y muestra una descarga parcial resuelta en fase (PRPD) calculado a partir de esa señal sonora. Al detectar la presencia de DP se analiza el PRPD asistido por IA en el dispositivo y evaluación de la gravedad de la PD detectada una desde la imagen capturada, el dispositivo se alimenta de la información del nivel de tensión, la distancia y el componente donde se detecto la descarga parcial y se muestra una clasificación del tipo de descarga parcial en conjunto con el grado de severidad y recomendaciones.

Figura 2. Muestra de resultados de una inspección de DP con la Si2
La Si2 cuenta con 124 micrófonos mejorados las cuales benefician y facilitan la detección de las DP, las cuales tiene un rango de detección de hasta 130 kHz, la cual beneficia a una mejor detección de estos fenómenos en tiempo real y así obtener la ubicación exacta de la falla en pantalla, facilitando inspecciones rápidas y sin contacto directo. La FLIR Si2 PD es una herramienta imprescindible para quienes buscan mantener la confiabilidad y seguridad de sus sistemas eléctricos mediante un mantenimiento predictivo efectivo. Asistido todo por la IA que incluye la Si2 facilita el análisis y generación de reportes.

Figura 3. Cámara de ultrasonido Si2 detección de descargas parciales.